 
 
详细介绍
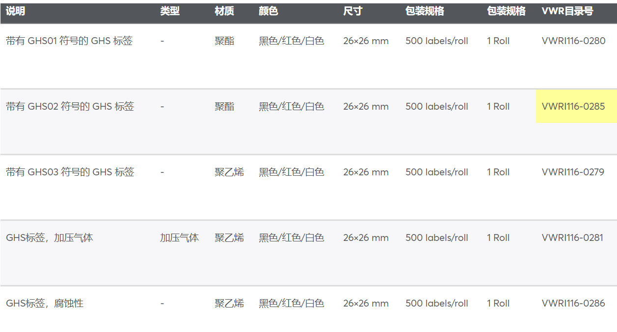
这些标签采用PE薄膜制造,带GHS符号,符合GHS(全球协调系统)对化学物质和混合物的规定。2015年,GHS符号将代替传统的橙色符号 (HSID),新符号是橙色方块上的象形图,R和S短语将消失。GHS符号基于物质的物理、健康和环境危害分类。“纯"化学物质强制转换为GHS标志的日期是2010年12月,化学混合物的强制转换日期是2015年6月。
菱形
红框白底黑字
每卷包含500个标签,包装在分配箱中


这些标签采用PE薄膜制造,带GHS符号,符合GHS(全球协调系统)对化学物质和混合物的规定。2015年,GHS符号将代替传统的橙色符号 (HSID),新符号是橙色方块上的象形图,R和S短语将消失。GHS符号基于物质的物理、健康和环境危害分类。“纯"化学物质强制转换为GHS标志的日期是2010年12月,化学混合物的强制转换日期是2015年6月。
菱形
红框白底黑字
每卷包含500个标签,包装在分配箱中
产品咨询